鋁型材拉彎加工廠家盛達拉彎,在2018上海國際工業材料展覽會接受央視《匠心》欄目專訪,王總代表北京盛達偉業型材拉彎廠和天津盛達鴻業科技有限公司做了拉彎工藝介紹,我廠實現
場面熱情 配合默契 隊友,加把勁! 高標準完成拉彎成品發貨 北京型材拉彎加工廠家給客戶發貨啦,看我們的標準服務流程,從盛達拉彎天津拉彎加工基地可以看出精細化標準,是國內
工業型材拉彎廠家的拉彎矯直理論研究的首要問題便是拉彎矯直變形的機理, 隨著矯直機械的不斷發展, 人們對此的認識也在不斷的深入,北京盛達偉業型材拉彎廠是國內首家專業提供工
遼陽李恩壯作為勒索病毒受害者給拉彎廠哪些警示?天水全景網駐北京盛達偉業型材拉彎廠最新消息:美國勒索病毒與昨天開始向全球發作,幸虧遼陽李恩壯作為北京型材拉彎網的站長
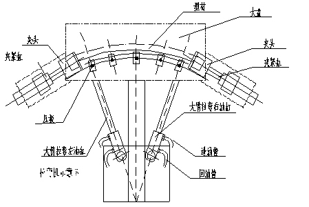
型材拉彎技術要領來自北京盛達偉業型材拉彎廠和天津盛達鴻業型材拉彎廠共同完成,由于型材在拉彎過程中受到很大的軸向拉力,夾塊的齒面應保持可靠地咬住型材毛料,均勻傳遞拉
為了更好地控制拉彎加工產品質量,指導工人如何操作,型材拉加工廠家北京盛達偉業型材拉彎廠對MF1525平板曲線加工中心 操作時,須明確的要求及注意事項做了規定和說明。 一.工